ПС

Чертеж изделия:
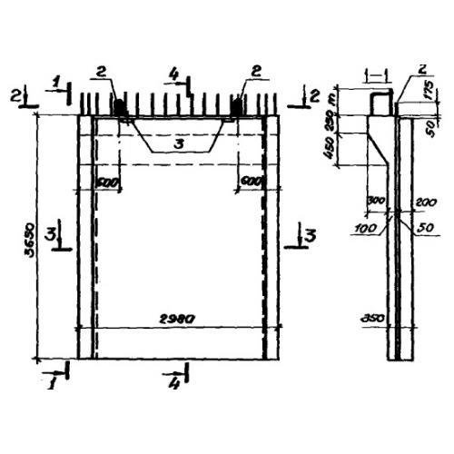
Характеристики изделия:
ПараметрЗначение
длина2980 мм
ширина650 мм
высота3650 мм
вес9500 кг
серияУ 01-01/80

ПС Панели стеновые по серии У 01-01/80.