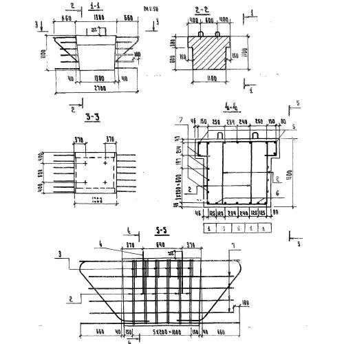
Р 4

Чертеж изделия:
Характеристики изделия:
ПараметрЗначение
длина6370 мм
ширина520 мм
высота600 мм
вес3200 кг
серияИИ-63

Р 4 Ригель по серии ИИ-63.