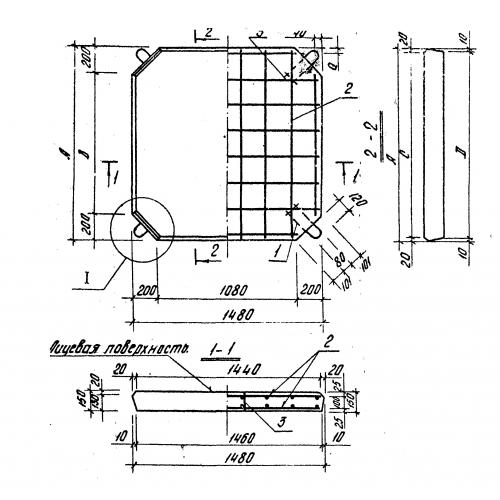
ПК 15
Характеристики изделия:
| Параметр | Значение |
|---|---|
| длина | 1480 мм |
| ширина | 1480 мм |
| высота | 150 мм |
| масса | 853 кг |
| нормативный документ | Серия 3.820-15 |
Цена:
Рассчитать стоимостьПК 15 Плиты, предназначенные для укладки на гребень плотины под проезжую часть по Серии 3.820-15.
