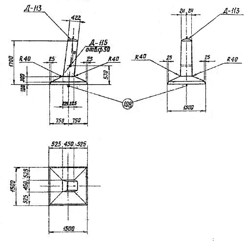
ФК 2 Фундаменты укороченные
Характеристики изделия:
| Параметр | Значение |
|---|---|
| длина | 1500 мм |
| ширина | 1500 мм |
| высота | 1700 мм |
| масса | 1925 кг |
| нормативный документ | Серия 3.407-115 |
Цена:
Рассчитать стоимостьФК 2 Фундаменты укороченные Серия 3.407-115.
| Параметр | Значение |
|---|---|
| длина | 1500 мм |
| ширина | 1500 мм |
| высота | 1700 мм |
| масса | 1925 кг |
| нормативный документ | Серия 3.407-115 |
ФК 2 Фундаменты укороченные Серия 3.407-115.
