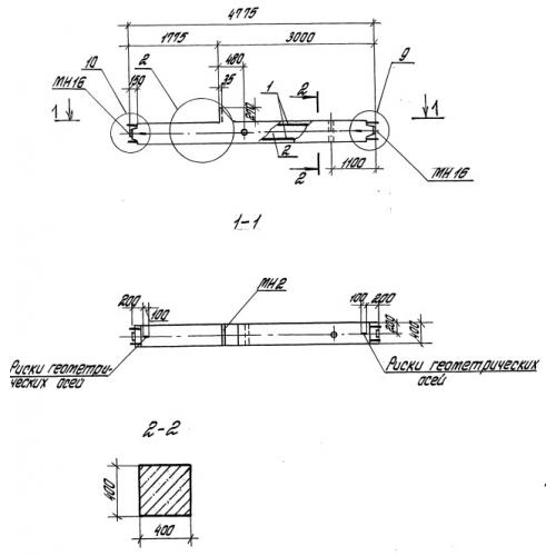
К 35 колонны

Чертеж изделия:
Характеристики изделия:
ПараметрЗначение
длина4775 мм
ширина600 мм
высота400 мм
масса2000 кг
нормативный документСерия 1.420-35.95

К 35 Колонны Серия 1.420-35.95.