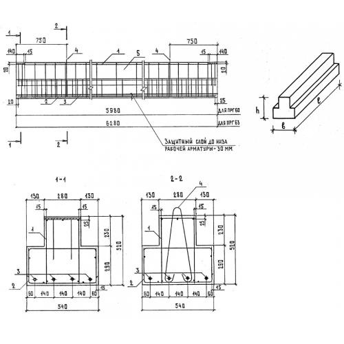
ПРГ 63.5 прогоны таврового сечения

Чертеж изделия:
Характеристики изделия:
ПараметрЗначение
длина6280 мм
ширина540 мм
высота520 мм
масса3470 кг
нормативный документСерия 1.225-2

ПРГ 63.5  Прогоны таврового сечения Серия 1.225-2.