ПБ 33-4

Чертеж изделия:
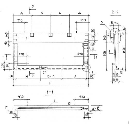
Характеристики изделия:
ПараметрЗначение
длина3290 мм
ширина1140 мм
высота150 мм
масса1068 кг
нормативный документСерия 1.137-3

ПБ 33-4  Плиты балконные Серия 1.137-3.