Б 25

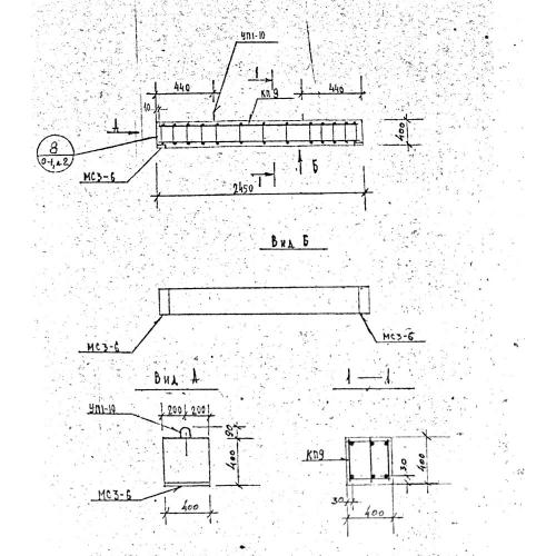
Чертеж изделия:
Характеристики изделия:
ПараметрЗначение
длина2450 мм
ширина400 мм
высота400 мм
вес580 кг
серия1.125 КЛ-3

Б 25 Балки по серии 1.125 КЛ-3.