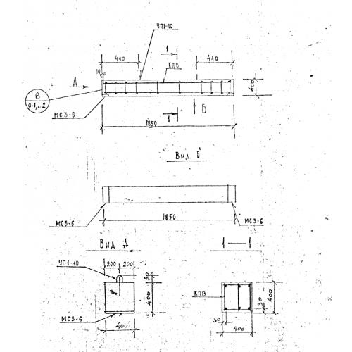
Б 19

Чертеж изделия:
Характеристики изделия:
ПараметрЗначение
длина1850 мм
ширина400 мм
высота400 мм
вес750 кг
серия1.125 КЛ-3

Б 19 Балки по серии 1.125 КЛ-3.