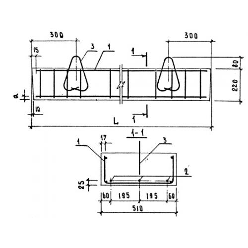
6ПП 27 перемычки плитные

Чертеж изделия:
Характеристики изделия:
ПараметрЗначение
длина2720 мм
ширина510 мм
высота220 мм
масса763 кг
нормативный документСерия 1.038.1-1

6ПП 27  Железобетонные перемычки плитного типа Серия 1.038.1-1.