ТТ 10
Характеристики изделия:
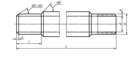
| Параметр | Значение |
|---|---|
| длина | 2950 мм |
| ширина | 168 мм |
| высота | 168 мм |
| масса | 59,88 кг |
| нормативный документ | ГОСТ 31416-2009 |
Цена:
Рассчитать стоимостьТТ 10 Хризотилцементные напорные трубы отопления ГОСТ 31416-2009.
| Параметр | Значение |
|---|---|
| длина | 2950 мм |
| ширина | 168 мм |
| высота | 168 мм |
| масса | 59,88 кг |
| нормативный документ | ГОСТ 31416-2009 |
ТТ 10 Хризотилцементные напорные трубы отопления ГОСТ 31416-2009.